A Alta-Karter АВТОЗАПЧАСТИ
Ищем...
Доставка Подбор по VIN Телеграм WhatsApp Способы оплаты О компании Контакты

Стартер HC-Cargo. Артикул 113962

Бренд: HC-Cargo — Holger Christiansen A/S (Великобритания)
Артикул: 113962
ЦЕНА
67 130 AMD
2 ШТ
// ДОСТАВКА

Отправим заказ: 29 мая (пт)

Доставка до пункта выдачи

СДЭК: 3 430 AMD (5-7 дн.)

Энергия: 4 910 AMD (6-8 дней дн.)

(все варианты доставки)

Город:

Условия доставки

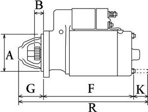
Характеристики

Количество крепежных отверстий 2
Диаметр расположения крепежных отверстий 64,00 мм
Ведущая шестерня - основная позиция 10,00 мм
Число зубцов 10, 8, 9
Мощность стартера 0,9 кВт
Направление вращения По часовой стрелке
Количество резьбовых отверстий 1
Исполнение стартера Прямой привод, с понижающим передаточным механизмом
Напряжение 12 V

Описание

Кросс коды

  • FIAT - 46548653
  • FIAT - 46813058
  • FIAT - 46813064
  • FIAT - 46816793
  • FIAT - 46816973
  • FIAT - 51772325
  • FIAT - 517723250
  • FIAT - 51812501
  • FIAT - 51832950
  • FIAT - 51832951
  • FIAT - 51832952
  • FIAT - 51888975
  • FIAT - 51890631
  • FIAT - 51890632
  • FIAT - 51974929
  • FIAT - 55192483
  • FIAT - 55192484
  • FIAT - 55193355
  • FIAT - 55193356
  • FIAT - 55201360
  • FORD - 1542468
  • FORD - 1567033
  • FORD - 1726802
  • FORD - 9S5111000AB
  • FORD - 9S5111000AA
  • FORD - BS5111000CA
  • HITACHI - S114905
  • HITACHI - S114906
  • HITACHI - S114943
  • HITACHI - S114943A
  • HITACHI - S114947
  • HITACHI - S114947A
  • HITACHI - S114938
  • HITACHI - S114948

Подходит для следующих модификаций:

    ABARTH

  • 500 / 595 / 695 (312_) 01.2008-2022 1.4 (312.AXD1A) 135 л.с
  • 500 / 595 / 695 (312_) 08.2008-2022 1.4 (312.AXF11, 312.AXF1A) 180 л.с
  • 500 / 595 / 695 (312_) 01.2008-2022 1.4 (312.AXF11, 312.AXF1A, 312.AXD1A) 160 л.с
  • 500 / 595 / 695 (312_) 01.2010-2022 1.4 (312.AXF1A, 312.AXD1A) 140 л.с
  • 500 / 595 / 695 (312_) 01.2008-2022 1.4 (312.AXT1A) 190 л.с
  • 500 / 595 / 695 (312_) 01.2016-2022 1.4 (312.AXY11, 312.AXY1A) 145 л.с
  • 500 / 595 / 695 (312_) 01.2016-2022 1.4 (312.AXZ11) 165 л.с
  • 500C / 595C / 695C (312_) 01.2010-2022 1.4 (312.AXF11, 312.AXF1A) 180 л.с
  • 500C / 595C / 695C (312_) 01.2011-2022 1.4 (312.AXF1A, 312.AXD1A) 160 л.с
  • 500C / 595C / 695C (312_) 01.2009-2022 1.4 (312.AXF1A, 312.AXF11, 312.AXD1A) 140 л.с
  • 500C / 595C / 695C (312_) 01.2016-2022 1.4 (312.AXY1A, 312.AXY11) 145 л.с
  • 500C / 595C / 695C (312_) 05.2016-2022 1.4 (312.AXZ1A) 165 л.с
  • GRANDE PUNTO (199_) 01.2007-01.2010 1.4 (199.AXN1B) 155 л.с
  • GRANDE PUNTO (199_) 01.2007-01.2012 1.4 (199.AXX1B) 180 л.с
  • ALFA ROMEO

  • MITO (955_) 01.2011-2018 1.4 (955.AXB1B, 955.AXU1A) 78 л.с
  • MITO (955_) 01.2008-01.2013 1.4 (955AXB1B, 955.AXF1B) 95 л.с
  • MITO (955_) 01.2011-2018 1.4 (955AXV1A) 69 л.с
  • MITO (955_) 01.2016-2018 1.4 Bifuel (955.AXG1A) 120 л.с
  • MITO (955_) 01.2009-2018 1.4 Bifuel (955AXG1A) 120 л.с
  • MITO (955_) 01.2013-2018 1.4 TB (955.AYB11, 955.AXB1B) 140 л.с
  • MITO (955_) 01.2008-01.2011 1.4 TJet (955AXA1B) 155 л.с
  • MITO (955_) 01.2008-2018 1.4 TJet (955AXG1A) 120 л.с
  • FIAT

  • 124 Spider (348_) 03.2016-2022 1.4 (348) 140 л.с
  • 500 (312_) 01.2012-2022 0.9 (312AXH1A) 65 л.с
  • 500 (312_) 01.2013-2022 0.9 (312AXM1B) 105 л.с
  • 500 (312_) 01.2013-2022 0.9 (312AXN1A) 80 л.с
  • 500 (312_) 01.2013-2022 0.9 (312AXP1A) 60 л.с
  • 500 (312_) 01.2007-2022 1.2 (312AXA1A) 69 л.с
  • 500 (312_) 01.2010-2022 1.2 LPG (312AXA1A) 69 л.с
  • 500 (312_) 01.2007-2022 1.4 (312AXC1B, 312CXC1B) 100 л.с
  • 500 C (312_) 01.2012-2022 0.9 (312AXH1A) 65 л.с
  • 500 C (312_) 01.2013-2022 0.9 (312AXM1B) 105 л.с
  • 500 C (312_) 01.2013-2022 0.9 (312AXN1A, 312AXN11) 80 л.с
  • 500 C (312_) 01.2013-2022 0.9 (312AXP1A) 60 л.с
  • 500 C (312_) 01.2009-2022 1.2 (312CXA1A, 312AXA1A) 69 л.с
  • 500 C (312_) 01.2009-2022 1.4 (312CXC1B, 312AXC1B) 100 л.с
  • 500L (351_, 352_) 09.2012-2022 1.4 (199LYB1B) 95 л.с
  • 500L (351_, 352_) 10.2013-2022 1.4 (199LYF1B) 120 л.с
  • 500L (351_, 352_) 02.2014-2022 1.4 LPG (199LYF1B) 120 л.с
  • 500X (334_) 03.2017-2022 1.4 LPG (334AXL1B) 120 л.с
  • ALBEA (178_, 172_) 01.2007-12.2009 1.4 77 л.с
  • BRAVO II (198_) 01.2007-01.2014 1.4 (198AXA1B) 90 л.с
  • BRAVO II (198_) 01.2010-01.2014 1.4 16V (198AXS1B) 140 л.с
  • BRAVO II (198_) 01.2007-01.2014 1.4 T-Jet (198AXF1B) 150 л.с
  • BRAVO II (198_) 01.2007-01.2014 1.4 T-Jet (198AXG1B) 120 л.с
  • DOBLO Cargo (263_) 02.2010-2022 1.4 95 л.с
  • DOBLO Cargo (263_) 10.2011-2022 1.4 120 л.с
  • DOBLO c бортовой платформой/ходовая часть (263_) 04.2010-2022 1.4 95 л.с
  • DOBLO c бортовой платформой/ходовая часть (263_) 10.2011-2022 1.4 120 л.с
  • DOBLO c бортовой платформой/ходовая часть (263_) 06.2010-2022 1.4 Natural Power 120 л.с
  • DOBLO Автофургон / микроавтобус (223_) 01.2005-2015 1.4 77 л.с
  • DOBLO вэн (119_, 223_) 01.2005-2015 1.4 77 л.с
  • DOBLO вэн (263_) 02.2010-2022 1.4 (263AXA1A) 95 л.с
  • DOBLO вэн (263_) 10.2011-2022 1.4 (263AXG1B, 263AXG1A) 120 л.с
  • FIORINO Автофургон / микроавтобус (225_) 01.2008-2022 1.4 Natural Power (225BXC1A, 225AXC1A) 78 л.с
  • GRANDE PUNTO (199_) 01.2005-2012 1.2 65 л.с
  • GRANDE PUNTO (199_) 01.2010-2012 1.2 69 л.с
  • GRANDE PUNTO (199_) 01.2005-01.2015 1.4 (199AXB11, 199AXB1A, 199BXB1A, 199AXL1A) 77 л.с
  • GRANDE PUNTO (199_) 01.2005-01.2011 1.4 16V (199BXG1B, 199AXG1B) 95 л.с
  • GRANDE PUNTO (199_) 01.2008-2012 1.4 LPG 78 л.с
  • GRANDE PUNTO (199_) 01.2008-2012 1.4 Natural Power 78 л.с
  • GRANDE PUNTO (199_) 01.2007-2012 1.4 T-Jet (199AXM1A, 199BXM1A, 199BXN1A) 120 л.с
  • IDEA (350_) 01.2004-2016 1.2 16V 80 л.с
  • IDEA (350_) 01.2003-2016 1.4 90 л.с
  • IDEA (350_) 01.2005-2016 1.4 77 л.с
  • IDEA (350_) 01.2004-2016 1.4 16V 95 л.с
  • IDEA Van (350_) 10.2004-12.2012 1.4 (350BXA1A) 95 л.с
  • LINEA (323_, 110_) 01.2007-2022 1.4 77 л.с
  • LINEA (323_, 110_) 01.2007-2022 1.4 T-Jet (323AXC1A) 120 л.с
  • PANDA (169_) 01.2003-2012 1.1 (169.AXA1A) 54 л.с
  • PANDA (169_) 01.2003-2012 1.2 (169.AXB11, 169.AXB1A) 60 л.с
  • PANDA (169_) 01.2004-2012 1.2 4x4 (169.AXB2A) 60 л.с
  • PANDA (169_) 01.2007-01.2011 1.2 Natural Power (169.AXB1A) 60 л.с
  • PANDA (169_) 01.2006-2012 1.4 (169AXE1B) 100 л.с
  • PANDA (312_, 319_) 01.2012-2022 1.2 (312PXA1A) 69 л.с
  • PANDA VAN (312_, 519_) 01.2012-2022 1.2 (312CXA1A, 312DXA1A) 69 л.с
  • PANDA VAN (312_, 519_) 01.2012-2022 1.2 LPG (312CXA1A) 69 л.с
  • PANDA Фургон/хетчбэк (169_) 01.2004-2012 1.1 (169CXA1A) 54 л.с
  • PANDA Фургон/хетчбэк (169_) 01.2009-2012 1.2 LPG 60 л.с
  • PANDA Фургон/хетчбэк (169_) 01.2007-11.2009 1.2 Natural Power 60 л.с
  • PUNTO (188_) 01.2003-01.2012 1.4 95 л.с
  • PUNTO (199_) 01.2012-2018 1.2 (199AXZ1A, 199BXZ1A) 69 л.с
  • PUNTO (199_) 01.2014-2018 1.2 (199AYL1A, 199BYL1A) 67 л.с
  • PUNTO (199_) 01.2012-2018 1.4 (199AXB1A, 199BXB1A, 199BXB11, 199AXB11) 78 л.с
  • PUNTO (199_) 01.2012-2018 1.4 (199AXH1A, 199BXH1A) 75 л.с
  • PUNTO (199_) 01.2012-2018 1.4 Bifuel 78 л.с
  • PUNTO (199_) 01.2012-2018 1.4 Multi Air 105 л.с
  • PUNTO (199_) 01.2012-2018 1.4 Natural Power 78 л.с
  • PUNTO (199_) 01.2012-2018 1.4 Turbo Multi Air 135 л.с
  • PUNTO EVO (199_) 01.2009-01.2012 1.2 69 л.с
  • PUNTO EVO (199_) 01.2009-01.2012 1.2 65 л.с
  • PUNTO EVO (199_) 01.2009-01.2012 1.4 (199AXB1A) 77 л.с
  • PUNTO EVO (199_) 01.2009-01.2012 1.4 16V 105 л.с
  • PUNTO EVO (199_) 01.2009-01.2012 1.4 16V (199AXW1A) 135 л.с
  • QUBO (225_) 01.2009-2022 1.4 Natural Power (225AXC1A) 78 л.с
  • STILO (192_) 01.2002-01.2006 1.2 16V (192_XA1B) 80 л.с
  • STILO (192_) 01.2005-01.2006 1.4 16V 90 л.с
  • STILO (192_) 01.2003-01.2006 1.4 16V (192AXH1B, 192BXH1B) 95 л.с
  • STILO Multi Wagon (192_) 01.2004-01.2008 1.4 16V 95 л.с
  • STILO Multi Wagon (192_) 01.2005-01.2008 1.4 16V 90 л.с
  • STILO VAN (192_) 01.2004-01.2008 1.4 (192DXH1B) 95 л.с
  • TIPO седан (356_) 10.2015-2022 1.4 (356SXA1B) 95 л.с
  • TIPO седан (356_) 05.2016-2022 1.4 LPG (356SXF1B) 120 л.с
  • TIPO универсал (356_) 03.2016-2022 1.4 (356WXA1B) 95 л.с
  • TIPO универсал (356_) 03.2016-2022 1.4 (356WXF1B) 120 л.с
  • TIPO универсал (356_) 05.2016-2022 1.4 LPG (356WXF1B) 120 л.с
  • TIPO хэтчбек (356_) 03.2016-2022 1.4 (356HXA1B) 95 л.с
  • TIPO хэтчбек (356_) 03.2016-2022 1.4 (356HXF1B) 120 л.с
  • TIPO хэтчбек (356_) 05.2016-2022 1.4 LPG (356HXF1B) 120 л.с
  • FORD

  • KA (RU8) 01.2008-01.2016 1.2 69 л.с
  • LANCIA

  • DELTA III (844_) 01.2008-01.2014 1.4 (844.AXA1A) 120 л.с
  • DELTA III (844_) 01.2008-01.2014 1.4 (844.AXB1A) 150 л.с
  • DELTA III (844_) 01.2011-01.2014 1.4 Bifuel (844.AXA1A) 120 л.с
  • MUSA (350_) 01.2004-01.2012 1.4 (350.AXA11, 350.AXA1A) 95 л.с
  • MUSA (350_) 01.2007-01.2012 1.4 (350.AXE1A) 90 л.с
  • MUSA (350_) 01.2005-01.2012 1.4 (350.AXF1A) 78 л.с
  • MUSA (350_) 01.2010-01.2012 1.4 LPG (350.AXF1A) 78 л.с
  • YPSILON (312_) 01.2011-2022 1.2 Bi-fuel (312.YXA1A) 67 л.с
  • YPSILON (312_) 01.2011-2022 1.2 Bi-fuel (312.YXA1A) 69 л.с
  • YPSILON (843_) 01.2003-01.2011 1.2 (843.AXA1A) 60 л.с
  • YPSILON (843_) 01.2003-01.2011 1.2 (843.AXB1A) 80 л.с
  • YPSILON (843_) 01.2006-01.2011 1.4 (843.AXG1A) 78 л.с
  • YPSILON (843_) 01.2003-01.2011 1.4 16V (843.AXC11, 843.AXC1B, 843.AXC1A) 95 л.с
● 2 ШТ
67 130 AMD
// ГОРОД ДОСТАВКИ

ВЫБЕРИТЕ ГОРОД

Доставка, цены и наличие зависят от выбранного города.

Нажмите «Найти» или Enter — мы определим город и выберем ближайшее почтовое отделение по индексу.

// ПОПУЛЯРНЫЕ

Город не найден

Введите 6 цифр индекса

//

ВХОД ПО SMS ВВЕДИТЕ КОД ВХОД ЧЕРЕЗ WHATSAPP

Отправим одноразовым кодом — без паролей.

Код отправлен на

Напишите нам в WhatsApp — вы войдёте автоматически.

ОТКРЫТЬ WHATSAPP
ЗАЩИЩЁННОЕ СОЕДИНЕНИЕ ТАЧКА.РУ
// ПУНКТ ВЫДАЧИ

ВЫБЕРИТЕ ПВЗ

В вашем городе нет пунктов выдачи